Facade building solution

Facades

At Hilti we work with a wide range of trades all over the world helping our customers to build more safely, quicker and with more daring. We recognize how different is your industry and offer dedicated solutions specific to your business area.

Whether you are working on a project with a window wall or curtain wall façade, designing the edge of slab condition is complex. Having a strong understanding of the requirements of these applications can help eliminate issues later in design, construction or post construction phases.

We are here to help you

We help you from the very beginning of the process - designing and advising on optimum engineering solutions for curtain wall fixations and firestopping.

Facade Team
META Region

Download Facade Brochure
Engineering services

Firestop Engineering Judgments

Firestop Engineering Judgements

Firestop applications are never cookie-cutter and rarely simple. When a job-site firestop application deviates from our wide variety of tested firestop systems, trained and degreed Hilti fire protection engineers are ready to provide a customized engineering design to meet your needs. 

More Information

Curtain wall production

We are there to help you during the curtain wall production process, delivering a wide offer of products and solutions depending on your requirements. Curtain wall elements such as mullions, transoms or unitized panels are prepared for installation in a controlled manufacturing environment. It requires high precision and tolerance to achieve fast assembly process on site. All components built in a factory will require engineered drawing and layouts for building code approval. Hilti offers ideal solution for drilling, cutting, and panels assembly solutions.

More information

Curtain wall installation

Our certified Hilti engineers and account managers can help throughout your project, from design to installation – working with you on the jobsite to find solutions when it comes to installation of stick or unitized systems, glass walls, sky lights or fixing cladding.

More information

CURTAIN WALL FIXATION WITH DIRECT FASTENING

With the direct fastening technology, a powder-actuated fastening tool is used to drive a nail or threaded studs into concrete or steel. Provides high fastening rate and easy to use solution for curtain wall fastening. Due to constant exposure to external environment stainless steel nails or threaded studs to be used.

More information
Anchor curtain wall fixing

Curtain wall fixation with anchors

Complex curtain wall designs often present planners with a major challenge - especially when time is at a premium. Planning and execution of the work thus sometimes run almost parallel. Changes to plans at short notice can make it impossible to use anchor channels on all areas of the structure. For these situations, Hilti offers a range of stud anchors that provides versatile, well-proven solutions for fastening facades which also includes revolutionary new Hilti HUS3 undercut anchor.

More information

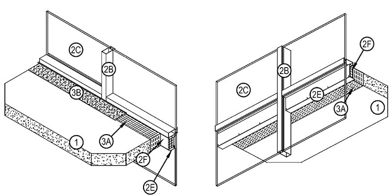
Firestop for curtain wall

Façade brochure - Curtain wall

Perimeter wall fire barriers pose unique design challenges to architects and engineers.

Like all construction joints, the curtain wall joint is a dynamic system that is constantly moving with minute shifts against the building structure. Specifying a curtain wall system that does not properly address movement, leakage and water ratings could lead to costly retrofitting down the road

Hilti has developed a line of products to meet these requirements along with tested and approved systems to address a wide range of exterior configurations.

  • HI/BPF 120-11

    Full Vision Glass

    Hilti is the first and only manufacturer to have a tested perimeter fire barrier system for 100% vision glass. The system (HI/BPF 120-11) provides an aesthetically pleasing fire-rated assembly for floor-to-ceiling glass design with Class IV movement capabilities in a fully unitized assembly.

    Learn more
    Firestop Joint Spray

    CFS-SP-WP

    Firestop Joint Spray

    More Information

DOWNLOAD THE HILTI ANCHOR SELECTOR APP NOW!

Share this content